Πυροσβεστική διάταξη 8/16 - Άρθρο 3

Άρθρο 3: Οδεύσεις διαφυγής - Έξοδοι κινδύνου


Συνδεθείτε στην Υπηρεσία Νομοσκόπιο
Είσοδος στην υπηρεσία Νομοσκόπιο.
   
Χρήστης
Κωδικός
  Υπενθύμιση στοιχείων λογαριασμού
   
 
Νέοι χρήστες
Εάν είστε νέος χρήστης, θα πρέπει να δημιουργήσετε ένα ΔΩΡΕΑΝ λογαριασμό προκειμένου να φύγει το παράθυρο αυτό και να αποκτήσετε πλήρη πρόσβαση στην υπηρεσία Νομοσκόπιο.
Δημιουργία νέου λογαριασμού

 

 

Α. Υπολογισμός θεωρητικού πληθυσμού

 

1. Ο θεωρητικός πληθυσμός των εμπορικών καταστημάτων αποτελεί το άθροισμα των θεωρητικών πληθυσμών των παρακάτω δραστηριοτήτων του Πίνακα 1.

 

Για τον υπολογισμό του θεωρητικού πληθυσμού, λαμβάνεται υπόψη η μικτή επιφάνεια δαπέδων των χώρων που προορίζονται αποκλειστικά για την εκάστοτε δραστηριότητα, καθώς και των διαδρόμων κυκλοφορίας τους, εξαιρουμένων των χώρων εστίασης για όρθιους και διερχόμενους όπου λαμβάνεται υπόψη η επιφάνεια αναμονής των ενοίκων.

 

Πίνακας 1

Δραστηριότητες

Θεωρητικός πληθυσμός

(συντελεστής 1 άτομο / m2)

Ισόγειο και Όροφοι

Υπόγειο

Χώροι έκθεσης και πωλήσεων

6

3

Γραφεία

10

10

Χώροι αποθήκευσης εμπορευμάτων

30

30

Χώροι εστίασης για όρθιους και διερχόμενους

2

2

 

2. Ο θεωρητικός πληθυσμός των χώρων συνάθροισης κοινού της παραγράφου 2)β του άρθρου 1 της παρούσας, υπολογίζεται κατά τα οριζόμενα στις παραγράφους A1, A2 και A3 του άρθρου 3 της υπ' αριθμόν 3/2015 Πυροσβεστικής Διάταξης όπως κάθε φορά ισχύει και αθροίζεται στο θεωρητικό πληθυσμό της παραγράφου 1 του παρόντος άρθρου. Τα μέτρα και μέσα πυροπροστασίας των εν λόγω χώρων θα λαμβάνονται στο σύνολό τους, σύμφωνα με τα οριζόμενα στην παρούσα.

 

Β. Υπολογισμός οδεύσεων διαφυγής και εξόδων κινδύνου

 

1. Παροχή οδεύσεων διαφυγής

 

Η παροχή όδευσης διαφυγής ανά μονάδα πλάτους (ορίζεται 0.6 m) καθορίζεται σε:

 

α. 100 άτομα για τις οριζόντιες οδεύσεις (διάδρομοι, πόρτες, προθάλαμοι) σε υπέργειους ορόφους και 75 άτομα σε υπόγειους ορόφους.

β. 60 άτομα για τις κατακόρυφες οδεύσεις (κλιμακοστάσια, ράμπες) σε υπέργειους ορόφους και 45 άτομα σε υπόγειους ορόφους.

 

2. Υπολογισμός παροχής οδεύσεων διαφυγής

 

α. Η παροχή της οριζόντιας όδευσης διαφυγής υπολογίζεται για κάθε όροφο, συμπεριλαμβανομένου του υπογείου, ανάλογα με το θεωρητικό πληθυσμό αυτού.

 

β. Η παροχή της μίας ή περισσοτέρων κατακόρυφων οδεύσεων διαφυγής των υπερκείμενων ορόφων του ορόφου εκκένωσης, καθορίζεται με βάση τους ορόφους που εξυπηρετούν. Ειδικότερα:

 

i) η παροχή της μίας ή περισσοτέρων κατακόρυφων οδεύσεων διαφυγής που εξυπηρετούν έως και 2 ορόφους υπολογίζεται από τον όροφο με το μεγαλύτερο θεωρητικό πληθυσμό.

 

ii) η παροχή της μίας ή περισσοτέρων κατακόρυφων οδεύσεων διαφυγής που εξυπηρετούν 3 έως και 5 ορόφους υπολογίζεται από το άθροισμα των παροχών των 2 με το μεγαλύτερο θεωρητικό πληθυσμό ορόφων.

 

iii) η παροχή της μίας ή περισσοτέρων κατακόρυφων οδεύσεων διαφυγής που εξυπηρετούν 6 ή περισσότερους ορόφους υπολογίζεται από το άθροισμα των παροχών των 3 με το μεγαλύτερο θεωρητικό πληθυσμό ορόφων.

 

γ. Η παροχή της μίας ή περισσοτέρων κατακόρυφων οδεύσεων διαφυγής των υποκείμενων ορόφων του ορόφου εκκένωσης, καθορίζεται από τον υπόγειο όροφο με τον μεγαλύτερο θεωρητικό πληθυσμό.

 

δ. Εφόσον οι απαιτούμενες από τον υπολογισμό της παροχής οδεύσεων διαφυγής, κατακόρυφες οδεύσεις διαφυγής είναι πυροπροστατευμένες με αυτοκλειόμενες πυράντοχες πόρτες, ο όροφος με το μεγαλύτερο θεωρητικό πληθυσμό, καθορίζει την παροχή των οδεύσεων διαφυγής, ανεξαρτήτως αριθμού ορόφων.

 

ε. Το ελάχιστο πλάτος των οδεύσεων διαφυγής και των θυρών αυτών ορίζεται σε 0.9 m. Κατ' εξαίρεση, το ελάχιστο πλάτος των οδεύσεων διαφυγής και των θυρών αυτών σε χώρους καταστημάτων με θεωρητικό πληθυσμό μέχρι 50 άτομα επιτρέπεται να είναι 0.8 m.

 

στ. Οι διάδρομοι κυκλοφορίας μέσα στους χώρους των καταστημάτων δεν πρέπει να έχουν πλάτος μικρότερο του 0.8 m.

 

ζ. Το πλάτος της όδευσης διαφυγής δεν πρέπει να μειώνεται στην πορεία προς την έξοδο - τελική έξοδο κινδύνου.

 

3. Έξοδοι - τελικοί έξοδοι κινδύνου

 

3.1. Αριθμός και πλάτος εξόδων - τελικών εξόδων κινδύνου

 

3.1.1. Απροστάτευτες οδεύσεις διαφυγής

 

α. Ο αριθμός και το πλάτος των τελικών εξόδων κινδύνου στον όροφο εκκένωσης καταστημάτων που η κύρια χρήση τους αναπτύσσονται σε έως και 2 ορόφους δίνεται στον Πίνακα 2 και είναι σύμφωνα με το θεωρητικό πληθυσμό, ο οποίος υπολογίζεται από το άθροισμα του θεωρητικού πληθυσμού των ορόφων.

 

β. Ο αριθμός και το πλάτος των τελικών εξόδων κινδύνου στον όροφο εκκένωσης που η κύρια χρήση τους αναπτύσσονται σε 3 ή περισσότερους ορόφους δίνεται στον Πίνακα 2 και είναι σύμφωνα με τον θεωρητικό πληθυσμό, ο οποίος υπολογίζεται από το άθροισμα:

 

i. Του θεωρητικού πληθυσμού του ορόφου εκκένωσης και

ii. Του 1/2 του συνόλου του θεωρητικού πληθυσμού των υπερκείμενων και υποκείμενων ορόφων του ορόφου εκκένωσης.

 

3.1.2. Πυροπροστατευμένες οδεύσεις διαφυγής

 

α. Ο αριθμός και το πλάτος των εξόδων κινδύνου καταστημάτων δίνεται στον Πίνακα 2 και υπολογίζεται για κάθε όροφο ανάλογα με το θεωρητικό πληθυσμό αυτού.

 

β. Ο αριθμός και το πλάτος των τελικών εξόδων κινδύνου στον όροφο εκκένωσης που η κύρια χρήση τους αναπτύσσονται σε 2 ή περισσότερους ορόφους και διαθέτουν τις απαιτούμενες από τον υπολογισμό της παροχής οδεύσεων διαφυγής, πυροπροστατευμένες οδεύσεις διαφυγής με αυτοκλειόμενες πυράντοχες πόρτες, δίνεται στον Πίνακα 2 και είναι σύμφωνα με το θεωρητικό του πληθυσμό, ο οποίος υπολογίζεται από το άθροισμα:

 

i. Του θεωρητικού πληθυσμού του ορόφου εκκένωσης και

ii. Του 1/4 του συνόλου του θεωρητικού πληθυσμού των υπερκείμενων και υποκείμενων ορόφων του ορόφου εκκένωσης.

 

Πίνακας 2

Αριθμός και πλάτη εξόδων κινδύνου

Θεωρητικός πληθυσμός (άτομα)

Αριθμός εξόδων κινδύνου

Πλάτος εξόδων κινδύνου (m)

έως 50

1*

0.80

51-150

2

0.90

151-300

2

1.40

301-500

3

1.60

501-800

4

1.80

 

Κατ' εξαίρεση σε υπόγειους χώρους κύριας χρήσης επιβάλλονται 2 τουλάχιστον έξοδοι κινδύνου ελάχιστου πλάτους 0.8 m.

 

Για πληθυσμό μεγαλύτερο των 800 ατόμων προστίθεται 1 έξοδος πλάτους 1.8 m ανά 400 άτομα ή κλάσμα αυτών.

 

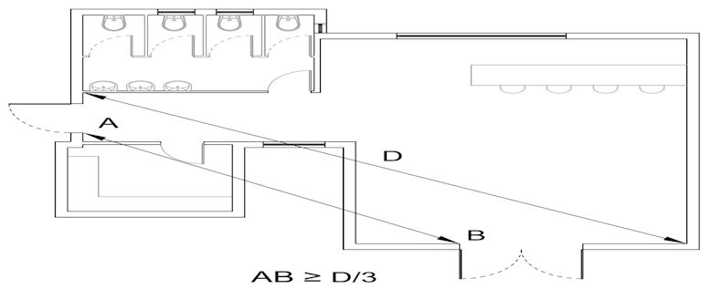
3.2. Διάταξη τελικών εξόδων κινδύνου

 

Εφόσον επιβάλλονται 2 τελικές έξοδοι κινδύνου, τα πλησιέστερα άκρα τους πρέπει να απέχουν τουλάχιστον το 1/3 της μέγιστης διαγώνιας διάστασης (D) του χώρου κύριας χρήσης (Σχήματα 1 και 2). Εφόσον απαιτούνται 3 ή περισσότερες τελικές έξοδοι κινδύνου, η θέση τουλάχιστον 2 εξ' αυτών, πρέπει να ικανοποιεί τα παραπάνω κριτήρια.

 

pyr.8.16.1

Σχήμα 1

 

pyr.8.16.2

Σχήμα 2

Σχήματα 1 & 2: Διάταξη τελικών εξόδων

 

4. Όρια μήκους πραγματικής απροστάτευτης όδευσης διαφυγής και αδιεξόδων

 

α. Η μέγιστη απόσταση της πραγματικής απροστάτευτης όδευσης διαφυγής από τους χώρους κύριας χρήσης του καταστήματος έως την πλησιέστερη έξοδο ή τελική έξοδο κινδύνου ορίζεται σε 45 m (Σχήματα 3 και 4), εξαιρουμένων των καταστημάτων υψηλού βαθμού κινδύνου, όπου ορίζεται στα 23 m. Όταν υπάρχουν 2 ή περισσότερες εναλλακτικές οδεύσεις διαφυγής, αρκεί η 1 από αυτές να πληροί το μέγιστο όριο μήκους της πραγματικής απόστασης.

 

pyr.8.16.3

Σχήμα 3

 

pyr.8.16.4

Σχήμα 4

Απόσταση απροστάτευτης όδευσης διαφυγής

Μήκος (ΑΒ) + (ΒΓ) + 1.5 x (ΓΔ) + (ΔΕ)

 

β. Η απόσταση της πραγματικής απροστάτευτης όδευσης διαφυγής, αναφέρεται συνήθως σε οριζόντια διαδρομή.

 

Όταν στην όδευση περιλαμβάνεται απροστάτευτη κατακόρυφη όδευση, προστίθεται το μήκος του κλιμακοστασίου επαυξημένο κατά 50%.

 

Γ. Λοιπά χαρακτηριστικά οδεύσεων διαφυγής - εξόδων κινδύνου

 

1. Οδεύσεις διαφυγής - έξοδοι κινδύνου

 

1.1. Γενικά

 

α. Το ελεύθερο ύψος των χώρων, όπου διέρχεται όδευση διαφυγής να είναι τουλάχιστον 2.2 m και για τις σκάλες, δοκούς, θύρες οδεύσεων τουλάχιστον 2 m. Το ελάχιστος πλάτος της όδευσης διαφυγής των βοηθητικών χώρων, δεν επιτρέπεται να είναι μικρότερο από 0.6 m.

 

β. Απαγορεύεται η χρήση των ανελκυστήρων ως οδεύσεων διαφυγής.

 

γ. Απαγορεύεται οδεύσεις διαφυγής από χώρους κύριας χρήσης που οδηγούν σε εξόδους ή τελικές εξόδους κινδύνου να διέρχονται μέσα από βοηθητικούς χώρους όπως αποθήκες, χώρους υγιεινής, χώρους ηλεκτρομηχανολογικών εγκαταστάσεων, γραφεία κ.λ.π..

 

1.2. Κλιμακοστάσια

 

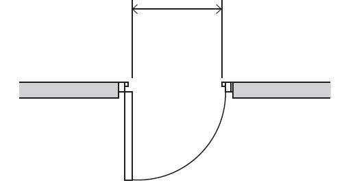
α. Έξοδοι κινδύνου-θύρες οδεύσεων διαφυγής, από χώρους κύριας χρήσης, πρέπει να διαθέτουν πλατύσκαλο εφόσον οδηγούν σε κλιμακοστάσιο. Το ελάχιστο πλάτος του πλατύσκαλου πρέπει να είναι 0.6 m.

 

β. Κάθε θύρα που έχει άμεση πρόσβαση στο κλιμακοστάσιο, πρέπει κατά το άνοιγμα της να μην φράσσει σκαλοπάτια ή πλατύσκαλα, ούτε να μειώνει το πλάτος της σκάλας ή του πλατύσκαλου, διασφαλίζοντας 1 τουλάχιστον μονάδα πλάτους (0.6 m) οδεύσεως διαφυγής (Σχήμα 5).

 

pyr.8.16.5

Σχήμα 5: Θύρες κλιμακοστασίων

 

γ. Το ελάχιστο πλάτος (πάτημα) των βαθμίδων των κλιμάκων που χρησιμοποιούνται ως οδεύσεις διαφυγής από χώρους κύριας χρήσης πρέπει να είναι 0,24 m και αντίστοιχα το ύψος (ρίχτι) των βαθμίδων των κλιμάκων μεταξύ 0,13 έως 0,20 m (Σχήμα 6). Κατ' εξαίρεση απαλλάσσονται από την ανωτέρω απαίτηση καταστήματα που η κύρια χρήση τους αναπτύσσεται σε έως και 2 ορόφους υπέρ του ορόφου εκκένωσης και ο θεωρητικός πληθυσμός κάθε ορόφου δεν υπερβαίνει τα πενήντα (50) άτομα.

 

pyr.8.16.6

Σχήμα 6: Βαθμίδες κλιμάκων

 

δ. Οι κυλιόμενες κλίμακες, γίνονται αποδεκτές ως δεύτερες οδεύσεις διαφυγής μόνο όταν πληρούνται οι παρακάτω προϋποθέσεις σωρευτικά:

 

i) έχουν το απαιτούμενο πλάτος.

 

ii) ακινητοποιούνται αυτόματα, σε περίπτωση ενεργοποίησης του συστήματος πυρανίχνευσης ή με κομβίον χειροκίνητης ακινητοποίησης.

 

ε. Οι οδεύσεις διαφυγής πρέπει να είναι πυράντοχης κατασκευής και να μην περιλαμβάνουν καυστά υλικά.

 

στ. Εξωτερικά μεταλλικά κλιμακοστάσια, γίνονται αποδεκτά ως δεύτερες οδεύσεις διαφυγής.

 

1.3. Πυραντίσταση οδεύσεων διαφυγής

 

1.3.1. Εξωτερικές οδεύσεις

 

Οι εξωτερικές, οριζόντιες και κατακόρυφες οδεύσεις διαφυγής θεωρούνται ως πυροπροστατευμένες εφόσον είναι μόνιμης πυράντοχης κατασκευής χωρίς να περιλαμβάνουν καυστά υλικά και διαχωρίζονται από το κτίριο με δομικά στοιχεία με δείκτη πυραντίστασης τουλάχιστον ίσο με τον καθορισμένο στον Πίνακα 3. Η πυραντίσταση των εξωτερικών τοίχων πρέπει να επεκτείνεται εκατέρωθεν του κλιμακοστασίου κατά τουλάχιστον 2 m (Σχήμα 7).

 

pyr.8.16.7

Σχήμα 7: Πυραντίσταση εξωτερικών τοίχων - θυρών και επέκταση αυτής (όχι υπό κλίμακα)

 

1.3.2. Εσωτερικές οδεύσεις διαφυγής

 

Τα περιβλήματα των πυροπροστατευμένων οδεύσεων διαφυγής πρέπει να έχουν δείκτη πυραντίστασης τουλάχιστον ίσο με τον καθορισμένο στον Πίνακα 3.

 

1.3.3. Ανοίγματα πυροπροστατευμένων οδεύσεων διαφυγής

 

Τα ανοίγματα που χρησιμοποιούνται ως είσοδος και έξοδος της πυροπροστατευμένης όδευσης διαφυγής των ανωτέρω παραγράφων 1.3.1 και 1.3.2 πρέπει να διαθέτουν αυτοκλειόμενες πυράντοχες πόρτες με δείκτη πυραντίστασης που μπορεί να υπολείπεται μέχρι 30 λεπτά από τον ελάχιστο δείκτη πυραντίστασης του Πίνακα 3.

 

2. Θύρες

 

2.1. Κατεύθυνση περιστροφής- πλάτος

 

Οι θύρες των οδεύσεων διαφυγής και εξόδων κινδύνου των καταστημάτων, πρέπει να ανοίγουν προς την κατεύθυνση της διαφυγής. Από την εν λόγω απαίτηση απαλλάσσονται θύρες καταστημάτων με συνολικό θεωρητικό πληθυσμό μέχρι 50 άτομα. Σε κάθε περίπτωση οι θύρες πρέπει να παρέχουν το πλήρες πλάτος του ανοίγματός τους (Σχήμα 8).

 

pyr.8.16.8

Σχήμα 8: Πλάτος θύρας

 

2.2. Θύρες περιορισμού πορείας-ελέγχου

 

α. Οι αυτόματες μηχανοκίνητες θύρες με αισθητήρες κίνησης που χρησιμοποιούνται στα καταστήματα ως έξοδοι - τελικές έξοδοι κινδύνου, γίνονται αποδεκτές μόνο όταν παρέχουν το επιβαλλόμενο πλάτος κατά το πλήρες άνοιγμα τους και σε περίπτωση διακοπής ρεύματος, παραμένουν ανοιχτές.

 

β. Οι περιστρεφόμενες θύρες γύρω από τον κεντρικό άξονα αυτών και οι περιστροφικοί φραγμοί επιτρέπονται ως δευτερεύουσες οδεύσεις διαφυγής ή ως δεύτερες έξοδοι-τελικές έξοδοι κινδύνου.

 

γ. θύρες προθαλάμων εξόδων - τελικών εξόδων κινδύνου πρέπει να έχουν το ίδιο πλάτος και φορά ανοίγματος με αυτά των εξόδων -τελικών εξόδων κινδύνου.

 

2.3. Εξοπλισμός

 

α. Κάθε πόρτα πρέπει να έχει κατάλληλο εξοπλισμό λειτουργίας, ώστε να ανοίγει με προφανή και εύκολο τρόπο.

 

β. Σύρτες ή παρόμοια μέσα ασφαλίσεως δεν γίνονται αποδεκτά.

 



Copyright © 2020 TechnoLogismiki. Με την επιφύλαξη παντός δικαιώματος.